Potisknutelné disky
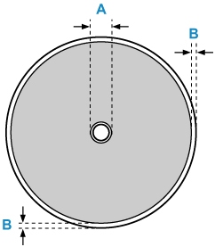
Oblast tisku potisknutelného disku se nachází ve vzdálenosti 17 mm (0,67 palce) od vnitřního poloměru do vzdálenosti 1 mm (0,04 palce) od vnějšího poloměru potisknutelného disku.

Oblast tisku
- A: 17,0 mm (0,67 palce)
- B: 1,0 mm (0,04 palce)

